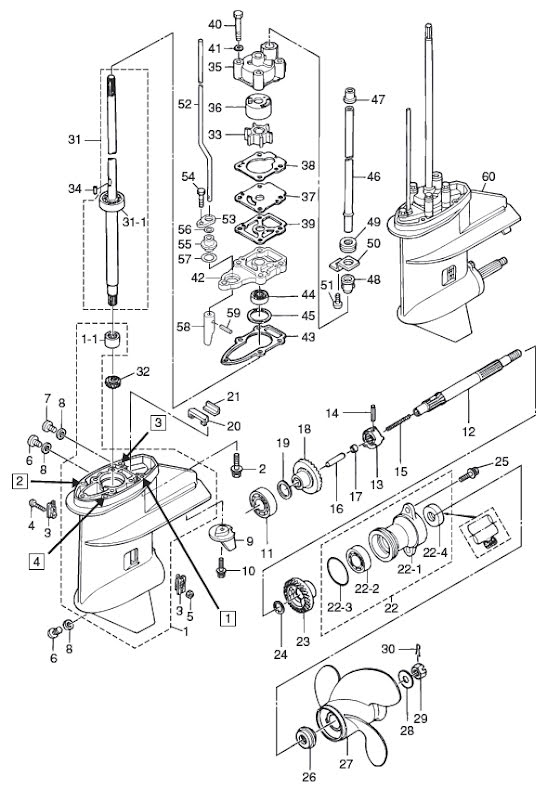
Fjäderstyrning växelhus Tohatsu
Lägg till en bevakning så meddelar vi dig så snart varan är i lager igen.
Fjäderstyrning växelhus Tohatsu
Fjäderhållare växelhus Tohatsu M 6 B - M 9,8 B hk, 2-takt 169 cc samt MFS 8 - MFS 9,8 hk, 4-takt 209 cc
Nr 17 i bild 2
Samma som Mercury art 8537642
Fri frakt över 2000kr
30 dagars öppet köp
Snabba leveranser
