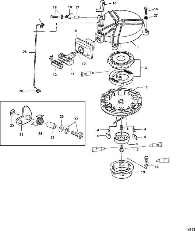
Reservdelar Startdetaljer Tohatsu Fjäder, startspärr Tohatsu Lägg till en bevakning så meddelar vi dig så snart varan är i lager igen. Produkten är nu bevakad Vi meddelar dig så snart varan är i lager igen. E-postadress Lägg till bevakning Dina personuppgifter behandlas i enlighet med vår integritetspolicy. Fjäder, startspärr Tohatsu Fjäder kam, manuell neutralstart, Tohatsu M 4 C - M 5 B, 2-takt samt MFS 4 - MFS 6, 4-takt Nr 24 i bild 2 Fri frakt över 2000kr 30 dagars öppet köp Snabba leveranser Reservdelar Motortillbehör Oljor Kampanjer Sprängskisser Motorinformation