Fjäder startapparat Mercury
Lägg till en bevakning så meddelar vi dig så snart varan är i lager igen.
Fjäder startapparat Mercury
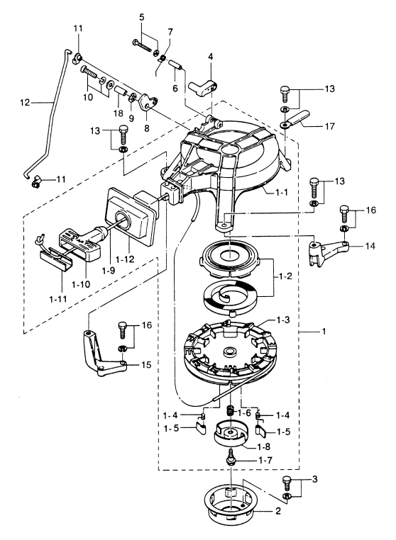
Fjäder startapparat 4 - 9,8 hk, 2-takt, Tohatsumodeller
Samma som Tohatsu art 369-05012-0
Nr 1-4 i bild
Se sprängskiss för rätt del och antal, säljes styckvis
Fri frakt över 2000kr
30 dagars öppet köp
Snabba leveranser
