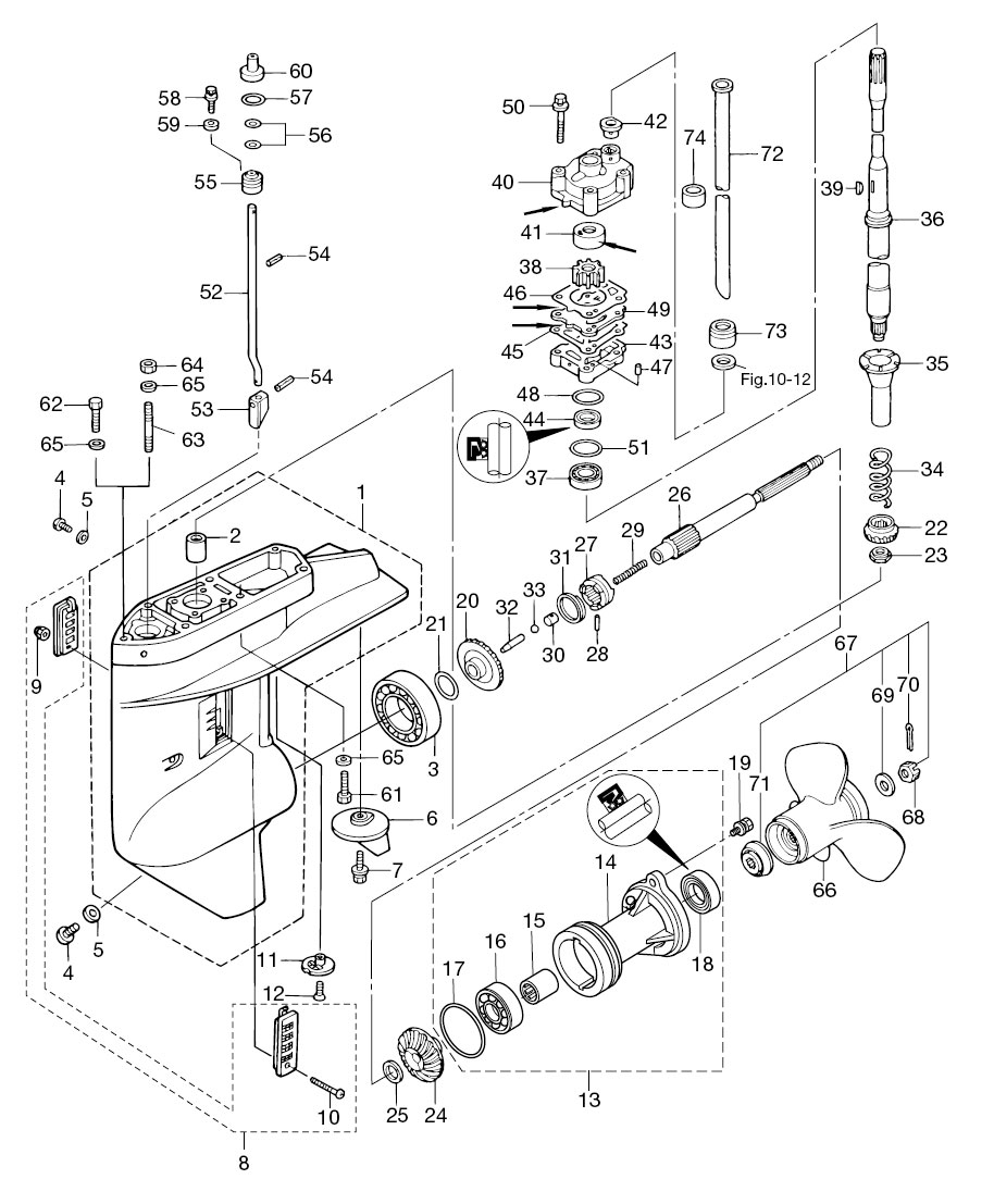
Reservdelar Växelhusdelar Tohatsu Drev Tohatsu Lägg till en bevakning så meddelar vi dig så snart varan är i lager igen. Produkten är nu bevakad Vi meddelar dig så snart varan är i lager igen. E-postadress Lägg till bevakning Dina personuppgifter behandlas i enlighet med vår integritetspolicy. Drev Tohatsu Backdrev, 23 kuggar, Tohatsu MFS 25 B - MFS 30 B, 4-takt, 1:92 utväxling. Samma som Mercury art 898103T29 Fri frakt över 2000kr 30 dagars öppet köp Snabba leveranser Reservdelar Motortillbehör Oljor Kampanjer Sprängskisser Motorinformation