Distans Mercury
F 8 - F 20 hk, 4-takt flera modeller Tohatsusamarbete
Lägg till en bevakning så meddelar vi dig så snart varan är i lager igen.
Distans Mercury
F 8 - F 20 hk, 4-takt flera modeller Tohatsusamarbete
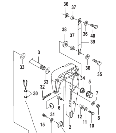
Distans Mercury F 8 - F 20 hk, 4-takt flera modeller
Se sprängskiss för rätt del och antal, säljes styckvis
Nr 37 i bild 2, som visar F 15 hk, 351 cc
Fri frakt över 2000kr
30 dagars öppet köp
Snabba leveranser
