Bussning Suzuki
DF 4 - DF 6 hk, 4-takt, ej A-modeller
Lägg till en bevakning så meddelar vi dig så snart varan är i lager igen.
Bussning Suzuki
DF 4 - DF 6 hk, 4-takt, ej A-modeller
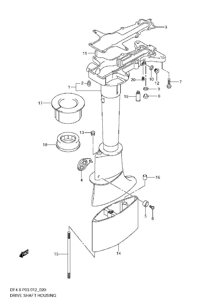
Övre bussning rigg Suzuki DF 4 - DF 6 hk, 4-takt, ej A-modeller
Se sprängskiss för rättt del.
Nr 17 i bild 2
Ers art 54132-91J00
Fri frakt över 2000kr
30 dagars öppet köp
Snabba leveranser
