Bussning växelstång Mercury
Bussning växelstång Mercury
Lägg till en bevakning så meddelar vi dig så snart varan är i lager igen.
Bussning växelstång Mercury
Bussning växelstång Mercury
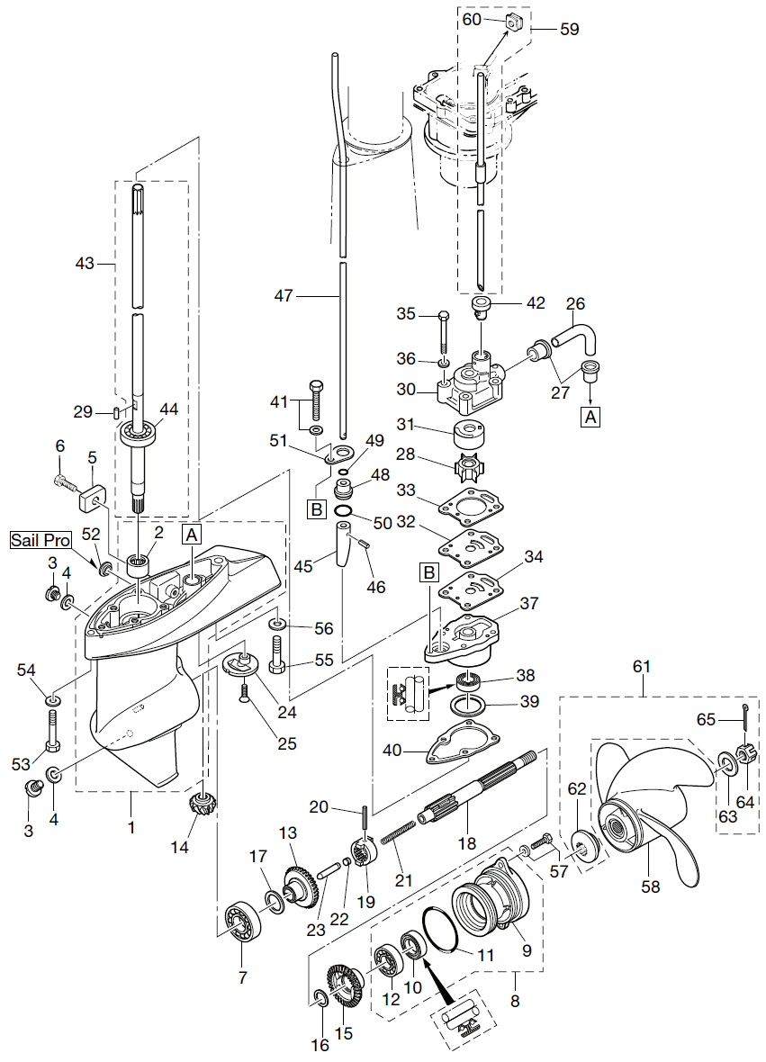
Bussning för växelstång Mercury 4 - 9,8 hk, 2-takt samt F 4 - F 9,9 hk, 4-takt Tohatsumodeller - se sprängskiss för rätt del.
Nr i bild 2 , inkl. o-ringar
Ersätter art 16176
Samma som Tohatsu art 3UA-66031-0, tid. 369-66031-0 (Tohatsu M 4-M 5 + M 6 B - M 9,8 B, 2-takt samt MFS 4 A+B+C-MFS 6 A+B+C och MFS 8 - MFS 9,8, 4-takt)
Dock ingår inte o-ringar i Tohatsus
Fri frakt över 2000kr
30 dagars öppet köp
Snabba leveranser
