Bult tilt Mercury
Lägg till en bevakning så meddelar vi dig så snart varan är i lager igen.
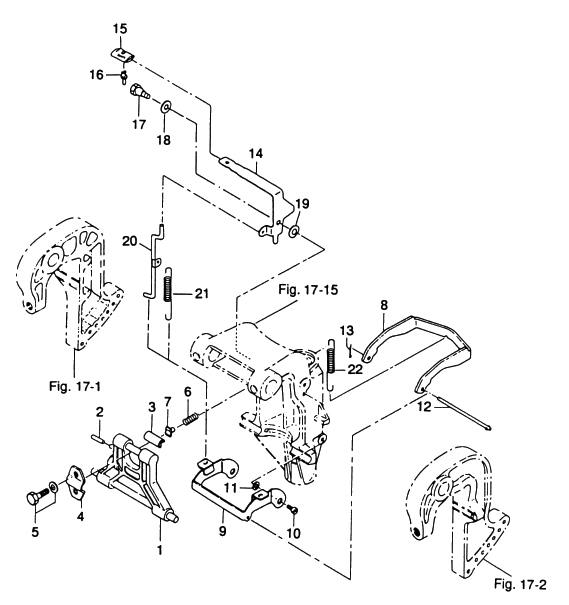
Bult tilt Mercury
Bult, låsarm tilt Mercury 9,9 - 50 hk, 2-takt samt F 10 - F 30 hk, 4-takt vissa Tohatsumodeller
Se sprängskiss för rätt del, nr 17 i bild
Ers art 804049
Samma som Tohatsu art 3AL-05254-0
Fri frakt över 2000kr
30 dagars öppet köp
Snabba leveranser
