Bricka växelhusbult Mercury
F 4 - F 6 hk, 4-takt och 2,5 - 5 hk, 2-takt Tohatsusamarbete
Lägg till en bevakning så meddelar vi dig så snart varan är i lager igen.
Bricka växelhusbult Mercury
F 4 - F 6 hk, 4-takt och 2,5 - 5 hk, 2-takt Tohatsusamarbete
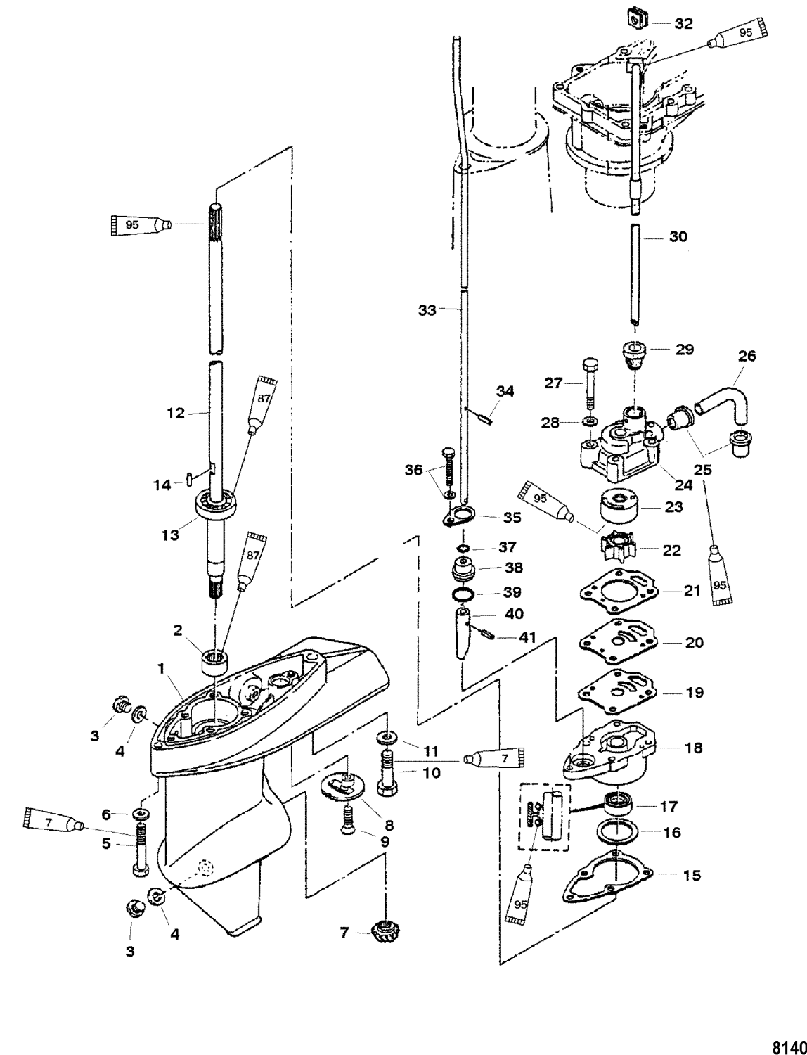
Bricka, M 6 rostfri, växelhusbult Mercury 2,5 - 5 hk 2-takt samt F 4 - F 6 hk, 4-takt Tohatsumodeller
Nr 6 i bild 2
Nr 10 i bild 3, som visar växelstång F 4 - F 6, 123 cc 4-takt
Ers. Mercury art. 895106, 879194338, 95349, 8M0074853, 8M0068941 och 8M0056378
Samma som Tohatsu art 940113-0600
Finns även i fler Mercury/Tohatsumotorer
Fri frakt över 2000kr
30 dagars öppet köp
Snabba leveranser
