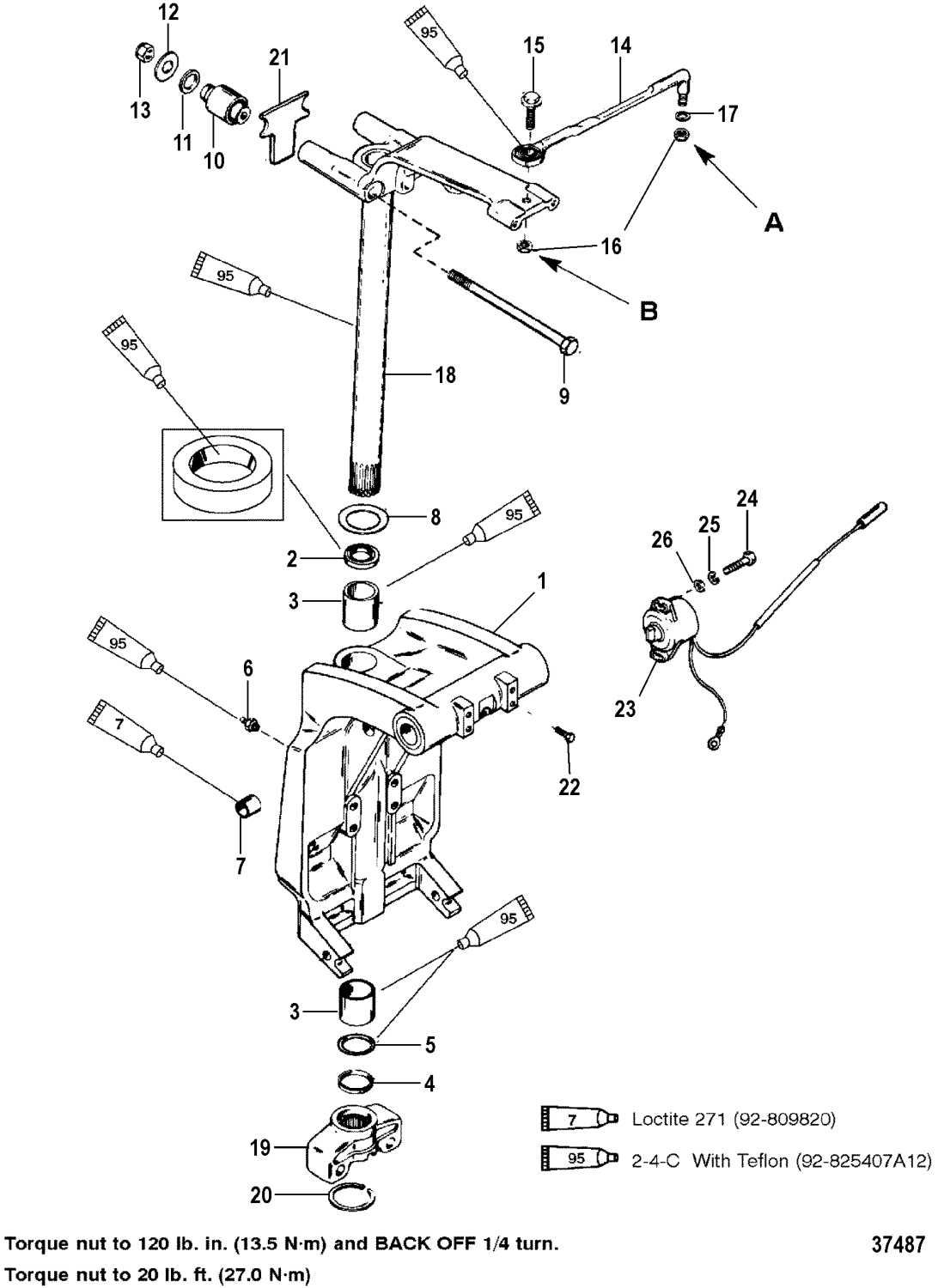
Bricka riggrör Mercury
Lägg till en bevakning så meddelar vi dig så snart varan är i lager igen.
Bricka riggrör Mercury
Bricka riggrör Mercury, flera modeller 2-takt, 4-takt och DFI/Optimax
Se sprängskiss för rätt del och antal
Nr 8 i bild 2
Fri frakt över 2000kr
30 dagars öppet köp
Snabba leveranser
