Bränsletank Mercury F 4 - F 6 hk, vissa
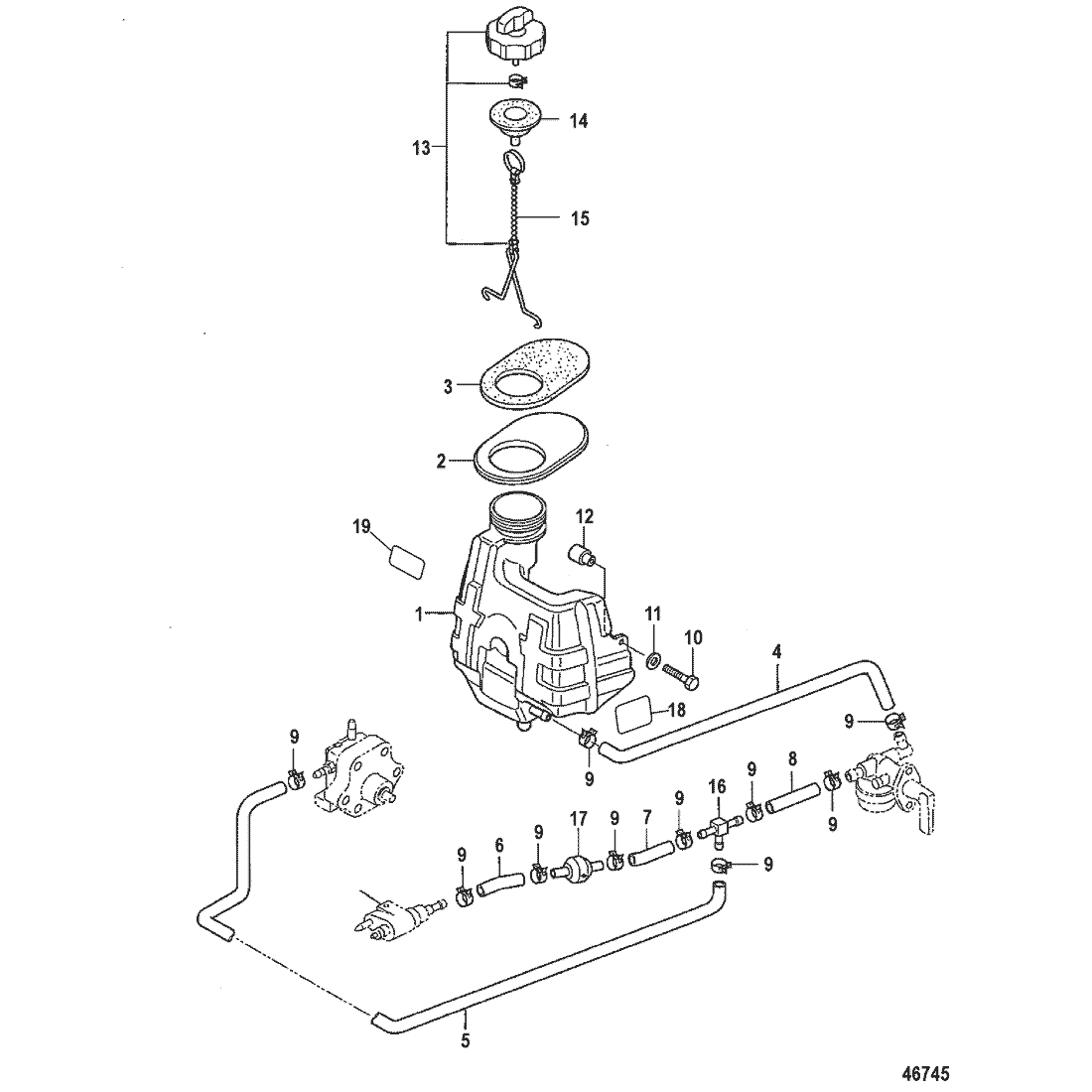
Bränsletank Mercury F 4 - F 6 hk, 4-takt Tohatsumodell från nr 0R411838 och upp
Lägg till en bevakning så meddelar vi dig så snart varan är i lager igen.
Bränsletank Mercury F 4 - F 6 hk, vissa
Bränsletank Mercury F 4 - F 6 hk, 4-takt Tohatsumodell från nr 0R411838 och upp
Bränsletank Mercury F 4 - F 6 hk, 4-takt Tohatsumodell från nr 0R411838 och upp
Nr 1 i bild
Ersätter Mercury art 8M0158638, 8M0056966, 8M0097063 och 8M0072284
Samma som Tohatsu art 3JE-70310-1
Fri frakt över 2000kr
30 dagars öppet köp
Snabba leveranser
