Backspärr Mercury
Lägg till en bevakning så meddelar vi dig så snart varan är i lager igen.
Backspärr Mercury
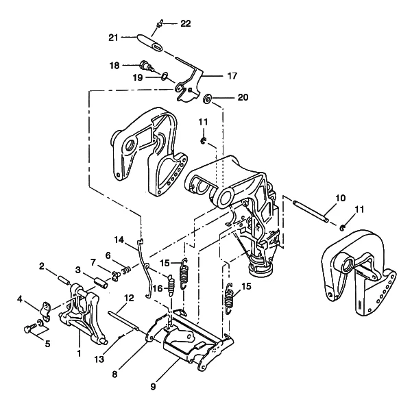
Backspärr Mercury 9,9 - 18 hk, 247 cc, 2-takt samt F 15 SeaPro 328 cc, 4-takt flera modeller
Se sprängskiss för rätt del
Nr 8 i bild
Samma som Tohatsu art 3G2-66351-0
Fri frakt över 2000kr
30 dagars öppet köp
Snabba leveranser
