- Hem »
- Motortillbehör
- » Övriga tillbehör
- » Mercury
- » Kåplås Mercury
Beskrivning
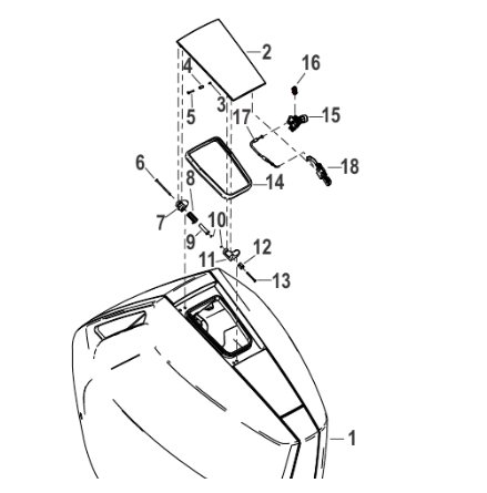
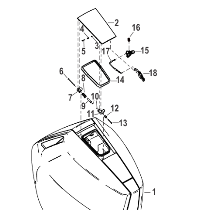
Kåplås, handtag, Mercury F 115 Pro XS, 4-takt
Nr 6 i bild 1
Se sprängskiss för rätt del
Specifikationer
Omdöme
Lämna ett omdöme
Omdöme (0)
Dela
Blogga om
Dokument
Andra produkter från samma kategori
-
Fjäder lås lock Mercury V 10, 4-takt Se sprängskiss för rätt del Nr 8 i bildArt nr. 8M020019463,13 SEK
-
Kåplås Mercury F 25 - F 30 hk, 526 cc, 4-takt Nr 5 i bild Se sprängskiss fö...Art nr. 896117A011 231,56 SEK
-
Pin lås lock Mercury V 10, 4-takt Se sprängskiss för rätt del Nr 6 i bildArt nr. 8M020019255,76 SEK
-
Gummitätning underkåpa Mercury 40 - 50 hk, 697 cc, 2-takt Nr 20 i bild 2 Sa...Art nr. 851850227,24 SEK